Klimaautomatik 206 Experte gefragt

Die wohl interessanteste Kategorie. Ihr habt Probleme mit Eurem Peugeot? Die Werkstatt weiss mal wieder nicht weiter? Das Handbuch gibt auch nichts mehr her? Na dann, stellt Eure Frage hier rein.
Antworten
Nachtschrauber
Serien-Wagen-Fahrer
Beiträge: 3
Registriert: Mi 28.08.19 12:22
Land: Deutschland

Klimaautomatik 206 Experte gefragt

Beitrag von Nachtschrauber » Mi 28.08.19 12:39

Hallo Gemeinde,

das Auto meiner besseren Hälfte bringt mich zum verzweifeln. :wall_banging: Daher habe ich mich hier mal angemeldet. Die Suchfunktion will heute leider nicht so wie sie soll.

Es handelt sich um einen 206cc, EZ 10/2002, 136 PS mit Klimaautomatik. War auch schon beim Freudlichen. Der konnte mit dem Testprogrann alle Funktionen manuell ansteuern außer den Kompressor. Der Klimakompressor will nicht einschalten.

Folgendes wurde gemacht bzw. geprüft:

- Kühlmittel aufgefüllt (es hat nur wenig gefehlt)
- Druckschalter erneuert
- Sicherungen geprüft
- Leitung zwischen BSI und Sicherungskasten im Motorraum geprüft
- Beide Lüfterstufen funktionieren
- Die Drehzahlanhebung funktioniert auch

Im Sicherungskasten im Motorraum sind ein grauer und ein schwarzer Stecker, mit jeweils 16 Pins. Wenn ich nun entweder auf den grauen Stecker auf Pin 13, oder auf den schwarzen Stecker auf Pin 7 ein Plus direkt von der Batterie gebe, zieht die Magnetkupplung an und die Klima läuft.

Hängt das mit dem berüchtigten Relais im BSI zusammen? Habe schon viele Beiträge mit Bildern dazu im Netz gefunden aber mein BSI sieht innen anders aus. Die Platine ist zur Hälfte doppelt, also zwei Platinen übereinander. Kann man hier auch das Relais tauschen? Welches ist das Relais für die Klima?

Oder den Fehler zunächst an anderer Stelle suchen? :hilflos:

Bin für jeden hilfreichen Hinweis dankbar!

Holger

Rolf-CH
Politessen-Verehrer
Beiträge: 1335
Registriert: Mo 22.02.10 21:25
Land: Schweiz

Re: Klimaautomatik 206 Experte gefragt

Beitrag von Rolf-CH » Mi 28.08.19 21:38

Also muss man prüfen, ob von der Bedieneinheit auf BSI Versorgung vorhanden ist.
Danach BSI Ausgang auf Sicherungskasten Eingang.

Nachtschrauber
Serien-Wagen-Fahrer
Beiträge: 3
Registriert: Mi 28.08.19 12:22
Land: Deutschland

Re: Klimaautomatik 206 Experte gefragt

Beitrag von Nachtschrauber » Do 29.08.19 11:03

Hallo,

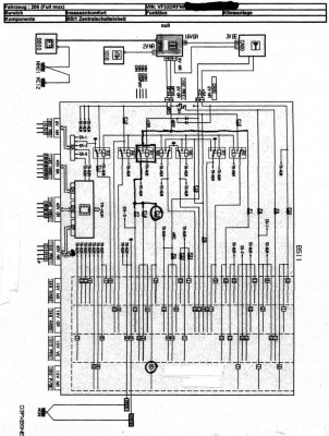
leider bin ich mit Stromlaufplänen nicht so gut ausgestattet. Der Freundliche hat mir mal was ausgedruckt, aber hier bin ich mit meinem Latein am Ende.
Laut seinem Tester kommt das Signal aus dem Bedienteil im BSI an, aber überprüfen konnte ich das noch nicht. Den Stromlaufplan vom BSI habe ich mal eingescannt. Eventuell hat hier ja jemand den Durchblick.
Sehe ich das richtig, dass am 10-Poligen schwarzen Stecker auf PIN 6 das Signal rauskommt? Denn da kommt nix an. Allerdings hängt doch an der Sicherung F15 auch das Radio und diverse andere Funktionen soweit ich das sehe und so steht es auch im Handbuch unter "Sicherungen".

Hier mal der Stromlaufplan (sorry für die miese Qualität)
Dateianhänge
Stromlaufplan_BSI.jpg

Nachtschrauber
Serien-Wagen-Fahrer
Beiträge: 3
Registriert: Mi 28.08.19 12:22
Land: Deutschland

Re: Klimaautomatik 206 Experte gefragt

Beitrag von Nachtschrauber » Do 29.08.19 11:05

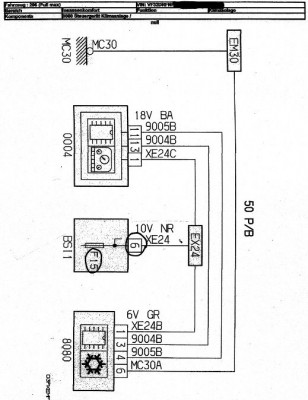
Sorry,

der zweite Plan kam nicht mit rüber
Dateianhänge
Stromlaufplan.jpg

Antworten